Motorky BMW GS - vše o motocyklech BMW řady GS a o cestování na nich
Motorky BMW GS - vše o motocyklech BMW řady GS a o cestování
  • · BMW GS
  • · Fórum
  • · Články
  • · Zprávy
  • · Galerie
  • · Naše fotografie
  • · Odkazy
  • · Ke stažení
  • · Inzerce
  • · Hledat
Reklama
Kalendář akcí
<< Březen 2026 >>
Po Út St Čt Pá So Ne
            1
2 3 4 5 6 7 8
9 10 11 12 13 14 15
16 17 18 19 20 21 22
23 24 25 26 27 28 29
30 31          
Číst diskusi
Motorky BMW GS - vše o motocyklech BMW řady GS a o cestování :: Motorky BMW :: BMW F650GS
Strana 1 z 3:   1    2    3  
 
Přestavba předních vidlí F650GS na Dakarovské
machcomp
#1 
Přidané 08.01.2013 21:50

Příspěvků: 233
Registrace: 18.05.12
Pokud bude mít někdo zájem o prodloužení a zároveň větší zdvih předních vidlí svého malého GSa na Dakarovské stačí poze vymenit tento díl :31 42 7 660 360 ve vidli. Vše ostatní zustáva. Cena cca 1100 Kč a asi 40min práce na jednu vidli.
 
Labus01
#2 
Přestavba předních vidlí F650GS na Dakarovské
Přidané 08.01.2013 21:53

Příspěvků: 857
Registrace: 28.04.12
A co pružiny?Smile
www.spotreby.cz/sigs/ico_2_43826.gif
 
zetor
#3 
Přestavba předních vidlí F650GS na Dakarovské
Přidané 08.01.2013 21:55
Avatar člena


Příspěvků: 9102
Registrace: 09.11.10
Labus01 napsal:
A co pružiny?Smile


Natahneš jak v propisce...Grin
 
machcomp
#4 
Přestavba předních vidlí F650GS na Dakarovské
Přidané 08.01.2013 21:59

Příspěvků: 233
Registrace: 18.05.12
Když jsem psal že vše ostatní zůstáva tak jsem myslel i pružiny. Prostor nat pístkama zůstavá stejny a co se týká stlačení tak také bez problémů.
 
Labus01
#5 
Přestavba předních vidlí F650GS na Dakarovské
Přidané 08.01.2013 22:05

Příspěvků: 857
Registrace: 28.04.12
a nejsou dakarácký pružiny delší? ty to máš ozkoušený? jen aby nedošlo k mýlce, ptám se, protože nevímSmile
www.spotreby.cz/sigs/ico_2_43826.gif
 
zetor
#6 
Přestavba předních vidlí F650GS na Dakarovské
Přidané 08.01.2013 22:07
Avatar člena


Příspěvků: 9102
Registrace: 09.11.10
Labus01 napsal:
a nejsou dakarácký pružiny delší? ty to máš ozkoušený? jen aby nedošlo k mýlce, ptám se, protože nevímSmile


Podle Realoem jsou jiný...tak nevim...
 
machcomp
#7 
Přestavba předních vidlí F650GS na Dakarovské
Přidané 08.01.2013 22:17

Příspěvků: 233
Registrace: 18.05.12
JJJ tuto upravu jsem dálal na své moto, dával jsem i 21 kolo a na zadek jiné kosti aby se zvedl i zadek. Jedinný problém mám s ABS nad 140km vypadne
 
k4lo
#8 
Přestavba předních vidlí F650GS na Dakarovské
Přidané 08.01.2013 23:10
Avatar člena


Příspěvků: 263
Registrace: 05.02.12
kde najdem ten kus 31 42 7 660 360 a ako vyzera?
 
k4lo
#9 
Přestavba předních vidlí F650GS na Dakarovské
Přidané 08.01.2013 23:20
Avatar člena


Příspěvků: 263
Registrace: 05.02.12
uz som ho nasiel je relane fakt iba vymenou toho jedneho dielu a oleja spravit z vidlice na male gs vidlicu na dakara?
 
machcomp
#10 
Přestavba předních vidlí F650GS na Dakarovské
Přidané 08.01.2013 23:25

Příspěvků: 233
Registrace: 18.05.12
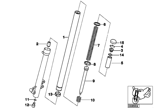
Je to číslo dílu BMW
Na obr. č. 9
machcomp přiložený následující obrázek:


[41.46Kb]
 
JardaFGS
#11 
Přestavba předních vidlí F650GS na Dakarovské
Přidané 09.01.2013 00:07
Avatar člena


Příspěvků: 1595
Registrace: 16.10.09
nic proti tobě machcomp..., ale jestli to posvětí některý z místních znalců, je to určitě zajímavý Smile
jardajerman@seznam.cz
 
machcomp
#12 
Přestavba předních vidlí F650GS na Dakarovské
Přidané 09.01.2013 00:20

Příspěvků: 233
Registrace: 18.05.12
Jezdim na tom od rijna. Co reknou mistni znalci to nevim me to funguje.
Pokud chces snizit GS tak taky menis tento dil ale za kraci.
 
MikiberG
#13 
Přestavba předních vidlí F650GS na Dakarovské
Přidané 09.01.2013 07:48

Příspěvků: 546
Registrace: 11.04.07
Je to samozřejmě blbost, jsou jiný i trubky a nějaký další nd který zajišťují tlumení a pružení. Díl 9 zajistí že se ti vysune kluzák až nebezpečně ven - tím se přiblíží k sobě vodící pouzdra = zvětšení vaklu vidlice ve všech směrech(to vysvětluje vypínání ABS - brzda se sekne, vidle se ohýbá vzad... možná i zadře a abs vyhodnotí zastavení kola.....) , snížení únosnosti, zasekávání v různých režimech
...
Dakar 650, HusaberG
 
Labus01
#14 
Přestavba předních vidlí F650GS na Dakarovské
Přidané 09.01.2013 08:34

Příspěvků: 857
Registrace: 28.04.12
jop, to sem si myslel, ze budou kratky kluzaky. Je to jako u kazdych tlumicu. Jde to, ale kluzak drzi jen na konci a je jen otazka casu, kdy se to zadre...
www.spotreby.cz/sigs/ico_2_43826.gif
 
servisak
#15 
Přestavba předních vidlí F650GS na Dakarovské
Přidané 09.01.2013 08:36
Avatar člena


Příspěvků: 12423
Registrace: 02.01.09
Labus01 napsal:
jop, to sem si myslel, ze budou kratky kluzaky. Je to jako u kazdych tlumicu. Jde to, ale kluzak drzi jen na konci a je jen otazka casu, kdy se to zadre...

Nebo vylomý
... servis a diagnostika BMW Motorrad

Diagnostika GS 911 wifi a Motoscan Ultimate

BMW R 1200 GS Adventure 90. Jahre
 
JardaFGS
#16 
Přestavba předních vidlí F650GS na Dakarovské
Přidané 09.01.2013 10:52
Avatar člena


Příspěvků: 1595
Registrace: 16.10.09
no a je to... taky sem si myslel, že se musí vyměnit minimálně taky ty kluzáky
jardajerman@seznam.cz
 
machcomp
#17 
Přestavba předních vidlí F650GS na Dakarovské
Přidané 09.01.2013 11:06

Příspěvků: 233
Registrace: 18.05.12
Nevim o cem tady pisete a jetli jste si to alespon prohledli.
Kluzaky jsou u obou modelu stejne, delka trubek take. Jediny rozdil je, ze trubky dakara maji mensi vnitrni pumer (o necely 1mm, takze jsou o neco pevnejsi) proto musi tesnici krouzek na pistku zustat z GS.
Nikomu to netlacim, pokud nechcete prijmout jednoduche reseni vase vec. Staci si tlumice rozebrat a kazdemu je to jasne.
ABS zacalo zlobit po zmene kola na 21, to jeste tlumice bez uprav, nevymyslejte fantasmagorie.
 
xnesd
#18 
Přestavba předních vidlí F650GS na Dakarovské
Přidané 09.01.2013 12:44

Příspěvků: 65
Registrace: 24.10.11
machcomp napsal:
JJJ tuto upravu jsem dálal na své moto, dával jsem i 21 kolo a na zadek jiné kosti aby se zvedl i zadek. Jedinný problém mám s ABS nad 140km vypadne


Můžu se zeptat na ty jiný kosti přepákování, to máš nějakou vlastní výrobu?
 
VojtechPolicky
#19 
Přestavba předních vidlí F650GS na Dakarovské
Přidané 09.01.2013 13:21
Avatar člena


Příspěvků: 3334
Registrace: 12.04.12
takz by me zajiml ten zadek, tak nejak na dtim taky premyslim, jenom se bojim, ze to nevydrzi material... a nebo se rapidne zmeni chovani motorky v zatackach atd.. a pak o kolik to milimetru zkratit ..
 
k4lo
#20 
Přestavba předních vidlí F650GS na Dakarovské
Přidané 09.01.2013 14:09
Avatar člena


Příspěvků: 263
Registrace: 05.02.12
tak co chlapi ako to je? ja som amater Grin ale tak vy by ste mohli vedeit v com sa kurna lisia vidle z dakaru a z gsa maleho je to iba dlzka dielu 9 ? a vnutorny priemer trubky ktory je pri dakare mesi alebo su uplne ine dlzky savli a pruziny ci ako to je?
 
Strana 1 z 3:   1    2    3  
Přejít na fórum:
Motorky BMW GS - diskuse :: Motorky BMW :: BMW F650GS :: Více v diskusním fóru
Přihlášení
Jméno

Heslo



Zaregistrovat se
Zaslat zapomenuté heslo
Kdo je on-line
Hosté on-line: 157
Členové on-line: 0

Registrováno: 8,780
Nejnovější člen: VojtechBrumla

Poslední návštěvy
Reklama
Vygenerované za: 0.50 sekund
Copyright © 2006 BAWORAK.CZ | Kontakt | Časté dotazy | Pravidla portálu | Hosting poskytuje CGI