Motorky BMW GS - vše o motocyklech BMW řady GS a o cestování na nich
Motorky BMW GS - vše o motocyklech BMW řady GS a o cestování
  • · BMW GS
  • · Fórum
  • · Články
  • · Zprávy
  • · Galerie
  • · Naše fotografie
  • · Odkazy
  • · Ke stažení
  • · Inzerce
  • · Hledat
Reklama
Kalendář akcí
<< Duben 2026 >>
Po Út St Čt Pá So Ne
    1 2 3 4 5
6 7 8 9 10 11 12
13 14 15 16 17 18 19
20 21 22 23 24 25 26
27 28 29 30      
Číst diskusi
Motorky BMW GS - vše o motocyklech BMW řady GS a o cestování :: Motorky BMW :: BMW R850GS, R1100GS, R1150GS a R1150GS Adventure
Strana 1 z 3:   1    2    3  
 
Přídavná světla - zapojení
paulik78
#1 
Přidané 17.12.2007 18:52
Avatar člena


Příspěvků: 697
Registrace: 22.08.07
Zdravím všechny! Při shlédnutí fotek vaších milááášků mě napadlo, že by jste mi možná někdo mohl poradit. Chystám se vybavit své 1150GS přídavnými světly. Zajímalo by mě, jakým způsobem je máte zapojené vy?

Na Adventure se dodávají originální a tak vycházím z toho, že elektrika je na to připravená...problém je v tom, že já přes elektriku úplně nejsem. A tak se mi nabízí řešení:

1. vytáhnu napájení přímo od baterky a přes relé zapojím přídavná světla
2. elektrika je na to připravená výrobcem a mě zbývá zjistit kde a jak a potřeboval bych poradit.

Jaký použít přepínač? Měl by mít dvě vlastnosti. Při zapnutých světlech musí svítít, aby signalizoval jejich aktivaci a musí být odolný vodě-dešti.

Těším se na vaše podnětyPfft
 
Milos
#2 
Přídavná světla - zapojení
Přidané 18.12.2007 07:35
Avatar člena

Administrátor
Příspěvků: 3242
Registrace: 18.10.06
Asi bych přívod vzal přímo ze světla, pak by přídavná světla fungovala jen při zapnutých světlech, zapojeno přes vypínač. Kostru vem z rámu. Záleželo by, jestli chceš podpořit dálková nebo tlumená světla.
V současné době, žádná přídavná světla nemám.
 
www.pinkava.cz
JohnyT
#3 
Přídavná světla - zapojení
Přidané 18.12.2007 07:49
Avatar člena


Příspěvků: 890
Registrace: 14.05.07
Nevim jak to mam primo zapojene v elektrice, ale jinak je mam pripojene tak, ze si mi rozsveci s prepnutim na dalkova svetla a navic mam v kokpitu jejich vypinac, ze je muzu uplne deaktivovat.
BMW R1150GS MY02
 
Bohumil
#4 
Přídavná světla - zapojení
Přidané 18.12.2007 08:00
Avatar člena


Příspěvků: 5604
Registrace: 13.02.07
Já mám pocit že to mám takle- ten šedý je v tom velkým štekru pod nádrží,relátko z mototechny na světla felicia, přepínač se světýlkem taky mototechna a ještě mám od baterky pojistku tu sem tam nenamaloval.Ale rači počkej aš to schválí Tonda je přes gáble specialista.Wink
Bohumil přiložený následující obrázek:


[24.89Kb]
Kupredu spatki ni krok...
 
rendas
#5 
Přídavná světla - zapojení
Přidané 18.12.2007 08:06
Avatar člena


Příspěvků: 539
Registrace: 05.11.07
Když jsem si na bývalém Adv 1150 zapojoval přídavné světla tak tam žádný vývod v orig. el.nebyl. Vypínač jsem nainstaloval do palubky a podle nákresu vše fungovalo bez problému
rendas přiložený následující obrázek:


[105.81Kb]
 
titika
#6 
Přídavná světla - zapojení
Přidané 18.12.2007 09:47
Avatar člena


Příspěvků: 328
Registrace: 12.12.07
já tomu moc nerozumim, ale táta je má na RT a ten (nevím, jestli je to běžné), jedno mu svítí s tlumenýma a jedno s dálkovýma, že prý by pak tolik světel moc oslňovalo...
 
Piky
#7 
Přídavná světla - zapojení
Přidané 18.12.2007 10:39
Avatar člena


Příspěvků: 342
Registrace: 06.08.07
Určitě bych být tebou použil relé, než zbytečně něco vyhřeješ. Mám teké přs reléWink
R1150 GS Adventure
 
paulik78
#8 
Přídavná světla - zapojení
Přidané 18.12.2007 11:31
Avatar člena


Příspěvků: 697
Registrace: 22.08.07
DÍKY za schéma, přesně to jsem potřeboval, strávím klidné vánoce v garáži, zamotaný do drátůGrin.
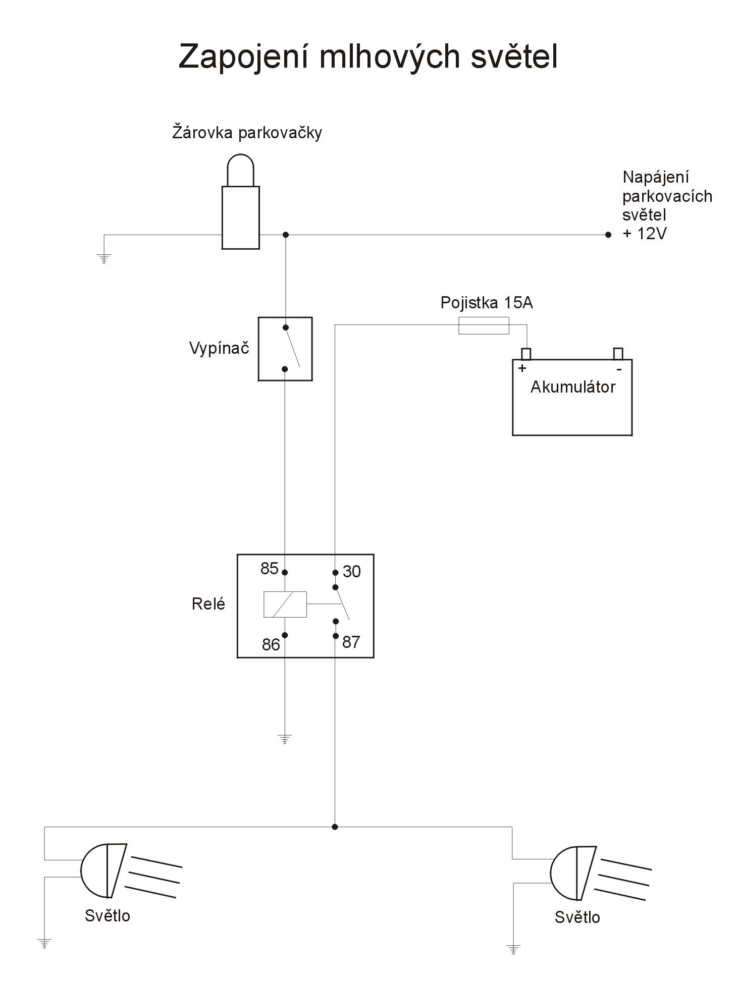
Měl jsem pocit, že když se Adventure s přidavnými světly prodává, že je na to elektrika připravená a kabely by mohly být jednotné s klasickým GS. Viděl jsem totiž mikrofiš, na které byla přídavná světla, k tomu přepínač, držáky a potom i kabeláž a vše se to dalo objednat, i po částech. Jenže teď u sebe nemám ten odkaz, šoupnu ho sem večer.
Podpořit chci klopená světla.

Tak jak jsem psal odpoledne, domníval jsem se, že díl označený číslem 19 se připojí do stávající kabeláže motocyklu.
paulik78 přiložený následující obrázek:


[25.22Kb]
Upravil paulik78 dne 18.12.2007 17:57
 
Filip
#9 
Přídavná světla - zapojení
Přidané 19.12.2007 14:01
Avatar člena


Příspěvků: 51
Registrace: 27.07.07
mam jenom dotaz jaký používáte vypínač si myslim že by měl mít vyšší krytí než obyčejný našel jsem s IP 67 za cca 500 Kč ale ten je podle mě moc drahý. Jestli nevíte o něčem a zásuvku pro GPS asi koupit origo že ??? Wink
 
petrs
#10 
Přídavná světla - zapojení
Přidané 19.12.2007 14:25
Avatar člena


Příspěvků: 938
Registrace: 31.10.07
Možná by šel použít obyč kolébkový vypínač ve spojení s touto krytkou.
krytka

vypinac

Spodek vypínače a jeho kontakty jsou zalité, takže tudy by se voda dovnitř dostat neměla. Zvrchu by ta krytka nějakou ochranu poskytnout měla. Kontakty pak zaizolovat např. smršťovací bužírkou a ještě pojistit izolačkou. Naštěstí se bavíme o 12V, tedy bezpečném napětí. U 220V bych to neriskoval.
Upravil petrs dne 19.12.2007 15:47
 
petrs
#11 
Přídavná světla - zapojení
Přidané 19.12.2007 15:46
Avatar člena


Příspěvků: 938
Registrace: 31.10.07
SORRY DAL JSEM BLBE ODKAZ....

krytka
Upravil petrs dne 19.12.2007 15:46
 
paulik78
#12 
Přídavná světla - zapojení
Přidané 19.12.2007 17:18
Avatar člena


Příspěvků: 697
Registrace: 22.08.07
Filip napsal:
mam jenom dotaz jaký používáte vypínač si myslim že by měl mít vyšší krytí než obyčejný našel jsem s IP 67 za cca 500 Kč ale ten je podle mě moc drahý. Jestli nevíte o něčem a zásuvku pro GPS asi koupit origo že ??? Wink


Jestli myslíš zásuvku na GPS napájecí, tak já používám obyčejnou jako je cigaretový zapalovač. Našel jsem jí v obchodě s autopříslušenstvím, stála kolem 200,- a ma na sobě přírubku k našroubování na 2 šroubky a krytku proti vodě, když se nepoužívá, tak se dá zavřít.
 
Tonda
#13 
Přídavná světla - zapojení
Přidané 19.12.2007 19:14

Příspěvků: 5269
Registrace: 16.02.07
Filip napsal:
mam jenom dotaz jaký používáte vypínač si myslim že by měl mít vyšší krytí než obyčejný našel jsem s IP 67 za cca 500 Kč ale ten je podle mě moc drahý. Jestli nevíte o něčem a zásuvku pro GPS asi koupit origo že ??? Wink

Zásuvku mám s Louise:
http://www.louis....r=10032919
 
http://tonda1200.rajce.idnes.cz/Dilna/
Kubicek
#14 
Přídavná světla - zapojení
Přidané 19.12.2007 21:36
Avatar člena


Příspěvků: 978
Registrace: 28.02.07
Já mám zásuvku ze škoda auto. Do octavii se davali zasuvky do kufru a da se koupit takova kritka s pruzinkou. Pak kritka funguje jako dvírka mel jsem to takhle i na transalpu a ani do toho neteče. Po vlastních zkušenostech zasuvka vykoroduje stejne vevnitr na medenych kontaktech cca po 2 letech vlivem vzdušné vlhkosti.
Konečně jsem našel to co jsem hledal ...GS
 
Kubicek
#15 
Přídavná světla - zapojení
Přidané 19.12.2007 21:49
Avatar člena


Příspěvků: 978
Registrace: 28.02.07
Vypadá takhle (omlouvam se majiteli, není to moje) ale mam to taky takhle udělany.
Kubicek přiložený následující obrázek:


[226.26Kb]
Konečně jsem našel to co jsem hledal ...GS
 
Slavek-xxx
#16 
Přídavná světla - zapojení
Přidané 09.01.2008 20:41
Avatar člena


Příspěvků: 1755
Registrace: 18.06.07
Tak se asi taky pustim do pridavnych svetel. Jen vaham, jestli zapojit dve mlhovky paralelne (tedy proti nasi vyhlasce, ackoliv v Risi to je takto i s TUV - aspon podle TT katalogu) a nebo jestli dat jednu na dalkovy svetlo a druhou jako mlhovku.
Vypinac jsem nasel tady http://www.gme.cz...pict=&jaz=
www.gme.cz/dokumentace/624-255/pctdetail.624-255.1.jpg
Jen se mi nechce ho vrtat do palubky, ma nekdo napad na lepsi umisteni?
Mimochodem, co si myslite o umisteni mlhovek? Na padaky, pod zobak nebo na riditka?
 
Slavek-xxx
#17 
Přídavná světla - zapojení
Přidané 09.01.2008 21:21
Avatar člena


Příspěvků: 1755
Registrace: 18.06.07
Jen se bojim, abych postupne nedopadl nejak takto Grin:
http://www.kbcars...t_s/65.htm

randy.bmwlt.net/gs/lights1.jpg
 
paulik78
#18 
Přídavná světla - zapojení
Přidané 09.01.2008 21:31
Avatar člena


Příspěvků: 697
Registrace: 22.08.07
Zdar Slávku, já jsem do palubky vrtal, dopadlo to takhle:
Zapojení jsem se rozhodl udělat, jak píšeš, proti naší vyhlášce, tedy obě světla budou svítit najednou. Umístím je pod zobák, čistě z estetického hlediskaCool Už máš světla vyhlýdnutý? Zdravím souseda z ŘevnicSmile
paulik78 přiložený následující obrázek:


[145.51Kb]
Upravil paulik78 dne 09.01.2008 21:43
 
Alda
#19 
Přídavná světla - zapojení
Přidané 09.01.2008 22:05
Avatar člena


Příspěvků: 4661
Registrace: 20.10.07
Zrovna se mi tahle diskuze docela hodi.
Svetla jsem objednal z Grave, priznam ze kvuli cene a jsou to tyto:
www.grave.cz/svetla/hella/foto/6.jpg

Stejne tak jsem u nich objednal zasuvku (s krytkou za 280 kacek)

Zapojeni jsem jeste neresil, pockam az to budu mit vsechno a pustim se do toho i s alarmem GT od Jablotronu, kterej se mi vali v supliku.
Jen vim, ze svetla necham jen samostatne na svuj vypinac, tim se mi instalace i hodne zjednodusi.
Jen do toho teda taky nejak nedelam, takze bych poprosil o informaci, proc je potreba k tem svetlum rele a jaky ma mit parametry? Asi je vic moznosti ne?
 
paulik78
#20 
Přídavná světla - zapojení
Přidané 09.01.2008 22:30
Avatar člena


Příspěvků: 697
Registrace: 22.08.07
Jestli se pletu, tak mě opravte. Relé je tam z toho důvodu, že přes světla teče velký proud a vypínač by to nemusel vydržet a časem by se při zapnutých světlech roztavil. Proto se používá zapojení přes relé, které obvod pro světla spíná a je dimenzované na jiné (větší) proudy, než je spínač, kterým jen relátku říkáš rosviť / zhasni. Koupíš ho v jakékoliv mototechně - "relé na světla", chybu neuděláš. Jak píšeš, že ho uděláš samostatně na svůj vypínač, to je v podstatě to zapojení, jaké je výše pospané na obrázku s tím, že je v obvodu připojení na parkovačku. Když vypneš klíček a jdeš od motorky, světla ti nezůstanou svítit v případě, že by jsi je zapomněl zhasnout. Jinak světýlka jsou moc pěkny, přesně ty jsem si vyhlídnul taky. A kam je dáš? Na padáky nebo pod zobák?
 
Strana 1 z 3:   1    2    3  
Přejít na fórum:
Motorky BMW GS - diskuse :: Motorky BMW :: BMW R850GS, R1100GS, R1150GS a R1150GS Adventure :: Více v diskusním fóru
Přihlášení
Jméno

Heslo



Zaregistrovat se
Zaslat zapomenuté heslo
Kdo je on-line
Hosté on-line: 273
Členové on-line: 0

Registrováno: 8,789
Nejnovější člen: Antonin

Poslední návštěvy
Reklama
Vygenerované za: 0.20 sekund
Copyright © 2006 BAWORAK.CZ | Kontakt | Časté dotazy | Pravidla portálu | Hosting poskytuje CGI