Motorky BMW GS - vše o motocyklech BMW řady GS a o cestování na nich
Motorky BMW GS - vše o motocyklech BMW řady GS a o cestování
  • · BMW GS
  • · Fórum
  • · Články
  • · Zprávy
  • · Galerie
  • · Naše fotografie
  • · Odkazy
  • · Ke stažení
  • · Inzerce
  • · Hledat
Reklama
Kalendář akcí
<< Listopad 2025 >>
Po Út St Čt Pá So Ne
          1 2
3 4 5 6 7 8 9
10 11 12 13 14 15 16
17 18 19 20 21 22 23
24 25 26 27 28 29 30
Číst diskusi
Motorky BMW GS - vše o motocyklech BMW řady GS a o cestování :: Motorky BMW :: BMW R850GS, R1100GS, R1150GS a R1150GS Adventure
Strana 1 z 2:   1    2  
 
schéma zapojení přídavných světel na GS 1150
magoss
#1 
Přidané 25.11.2010 18:48
Avatar člena


Příspěvků: 1114
Registrace: 04.11.10
Ahoj nemáte někdo po rocu v Pc schéma na zapojení přídavných světel na GS 1150 nebo aspoň el schéma kde by se to dalo napíchnout?moc děkuji Honza
 
servisak
#2 
schéma zapojení přídavných světel na GS 1150
Přidané 25.11.2010 19:15
Avatar člena


Příspěvků: 12409
Registrace: 02.01.09
Na1150 se nachá napíchnou kdekoliv ta nemá can bus tam si s elektrikou mužeš dělat co chceš!!!
... servis a diagnostika BMW Motorrad

Diagnostika GS 911 wifi a Motoscan Ultimate

BMW R 1200 GS Adventure 90. Jahre
 
MALI
#3 
schéma zapojení přídavných světel na GS 1150
Přidané 25.11.2010 19:41
Avatar člena


Příspěvků: 1697
Registrace: 17.05.08
Už to sem někdo dával. Takhle jsem to zapojil na 12ce a funguje to.
MALI přiložený následující obrázek:


[105.81Kb]
 
bystricke
#4 
schéma zapojení přídavných světel na GS 1150
Přidané 25.11.2010 23:00
Avatar člena


Příspěvků: 3927
Registrace: 04.11.07
ohulil sem drát z tlumenýho světla abych měl zdroj,ze zdroje mi jde drát na řidítka kde je vypínač a z vypínače to jde rovnou na žárofku dálkovýho příd.světla,bez relé a podobných blbostí,funguje to bez problémů
Hliníkové kufry BEGR - www.begr.cz
 
www.begr.cz
HonzaGS
#5 
schéma zapojení přídavných světel na GS 1150
Přidané 25.11.2010 23:23
Avatar člena


Příspěvků: 472
Registrace: 12.08.09
bystricke napsal:
ohulil sem drát z tlumenýho světla abych měl zdroj,ze zdroje mi jde drát na řidítka kde je vypínač a z vypínače to jde rovnou na žárofku dálkovýho příd.světla,bez relé a podobných blbostí,funguje to bez problémů


Ty hovado:-D Abys nedopadl jak Robert když si koupil 1150:-D Přijel na benzinku a zahořel:-D

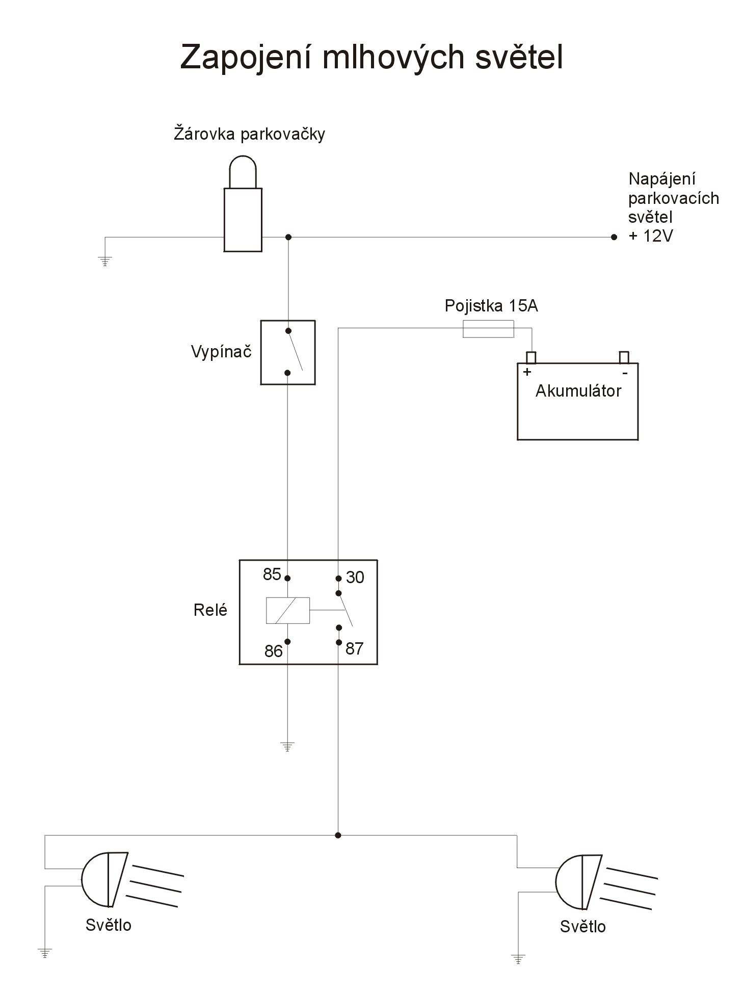
Jinak já to mám zapojené přes relé. Ovládací kontakty relé se zapojí takto: 85 na kostru, 86 přes vypínač na parkovačku. Silové kontakty: 30 přes pojistku(20A) přímo na + pól baterky, 87 ke světlům. Takže se nemusím bát, že je zapomenu vypnout. Jak vypnu světla, zhasnou i přídavky. Ale pokud bys je chtěl vyloženě jen na dálky, tak tu 86ku zapojíš místo parkovačky na + dálkového světla. Bud přes vypínač nebo na přímo (ve druhé případě jsou nevypínatelné). Bystřův způsob je taky možný, ale dostává na prdel vypínač přídavek. Přecejen 250mA cívky relátka ve srovnání s asi 9A dvou H3 je trošku rozdíl. Silové vodiče (od baterky na 30 relé a od 87 ke světlům doporučuju použít alespon 1mm2 vodiče. Ovládací (85 a 86 relé) je celkem jedno. Teče tam minimální proud. Pojistka jak jsem psal 20A.
...kulturnost je pouze nátěr, který je velmi lehce rozpustný v alkoholu...
...pošli do pr...e každého dřív, než tě stihne nas..t...
...je těžké být debilem, pač konkurence je veliká...
hilarious
 
bystricke
#6 
schéma zapojení přídavných světel na GS 1150
Přidané 25.11.2010 23:46
Avatar člena


Příspěvků: 3927
Registrace: 04.11.07
jezdím stím možná 3 roky a dráty mi zatím nesmrdípray
Hliníkové kufry BEGR - www.begr.cz
 
www.begr.cz
Bohumil
#7 
schéma zapojení přídavných světel na GS 1150
Přidané 26.11.2010 05:25
Avatar člena


Příspěvků: 5604
Registrace: 13.02.07
bystricke napsal:
ohulil sem drát z tlumenýho světla abych měl zdroj,ze zdroje mi jde drát na řidítka kde je vypínač a z vypínače to jde rovnou na žárofku dálkovýho příd.světla,bez relé a podobných blbostí,funguje to bez problémů

Já tam měl relátko ale blbě sem ho zapojil takže sem to měl vlasně napřímo jak ty a odpálil sem přepínač na řiditkách.Přiznávám se jsem vinnen
Kupredu spatki ni krok...
 
jezek
#8 
schéma zapojení přídavných světel na GS 1150
Přidané 26.11.2010 08:06

Příspěvků: 2896
Registrace: 05.11.08
bystricke napsal:
jezdím stím možná 3 roky a dráty mi zatím nesmrdípray


bez relé bych to nedal ani náhodou.. páč pak když dráty zasmrdí, jsi mínus motorka a můžeš plakat jak chceš, neuděláš s tím většinou nic.. Je to docela fofr když to hoří.. A že už jsem jich jako elektrikář viděl.. je pravda že co si občas "samouci" dokážou nabastlit je někdy k nevíře.. Grin
 
bystricke
#9 
schéma zapojení přídavných světel na GS 1150
Přidané 26.11.2010 08:53
Avatar člena


Příspěvků: 3927
Registrace: 04.11.07
to nesmíš ráno posnídat vyvalinGrinbo pak vidíš celý den hořící motorkykiss
Hliníkové kufry BEGR - www.begr.cz
 
www.begr.cz
stepan
#10 
schéma zapojení přídavných světel na GS 1150
Přidané 26.11.2010 09:16
Avatar člena


Příspěvků: 3723
Registrace: 05.06.07
jezek napsal:
bystricke napsal:
jezdím stím možná 3 roky a dráty mi zatím nesmrdípray


bez relé bych to nedal ani náhodou.. páč pak když dráty zasmrdí, jsi mínus motorka a můžeš plakat jak chceš, neuděláš s tím většinou nic.. Je to docela fofr když to hoří.. A že už jsem jich jako elektrikář viděl.. je pravda že co si občas "samouci" dokážou nabastlit je někdy k nevíře.. Grin


Bystřa používá určitě kvalitní vypínač Grin
www117.abb.com/data2/dep_35/ostatni_35363-81.jpg
 
http://kouzelnyzivot.cz
jezek
#11 
schéma zapojení přídavných světel na GS 1150
Přidané 26.11.2010 09:34

Příspěvků: 2896
Registrace: 05.11.08
nebo má hasící přístroj vždy po ruce.. Grin

fire-engine-photos.com.s3.amazonaws.com/701.jpg
 
palciatko
#12 
schéma zapojení přídavných světel na GS 1150
Přidané 26.11.2010 10:38

Příspěvků: 250
Registrace: 12.06.08
@magoss :
Prídavné diaľkové alebo hmlové?

V oboch prípadoch by som ti odporučil natiahnuť cez poistku novú kabeláž, a takisto použiť relé. Otázne je len to, že ako si predstavuješ ich zapínanie, či chceš mať v kokpite samostatný vypínač, či chceš použiť už existujúci vypínač (napr. tlačidlo na vypínanie smeroviek sa dá použiť na zapínanie hmloviek), alebo či chceš, aby sa zapínali (a pri štartovaní vypínali) automaticky.
 
Milda
#13 
schéma zapojení přídavných světel na GS 1150
Přidané 26.11.2010 10:40

Příspěvků: 101
Registrace: 06.10.08
Já mám zapojené potkávací i dálkové světlo přes relé. Hlavní důvod je vyšší svítivost a to zhruba o 15%. což je znát na první pohled. Každý řeší jakou žárovku tam dát, ale když nemá dost proudu a potřebné napětí tak je to zbytečné. Tady to borec popisuje velmi solidně http://www.ebbo.o...relays.php
 
Tomas1200GSA
#14 
schéma zapojení přídavných světel na GS 1150
Přidané 26.11.2010 11:20

Příspěvků: 614
Registrace: 04.09.08
Milda napsal:
Já mám zapojené potkávací i dálkové světlo přes relé. Hlavní důvod je vyšší svítivost a to zhruba o 15%. což je znát na první pohled. Každý řeší jakou žárovku tam dát, ale když nemá dost proudu a potřebné napětí tak je to zbytečné. Tady to borec popisuje velmi solidně http://www.ebbo.o...relays.php


Ještě jsem to nepročetl, ale přidáním relé zvýšit napětí a proud???
Důvod toho, proč je to přes relé, jen a jen to, aby do vypínače nešel velký proud. Spínacím napětím sepneš relé, a to si poté sepne spotřebič(žárovky).V podstatě, kdyby jsi používal vypínač viz. foto od Štěpána, nepotřebuješ žádné relé.
Pokud by jsi dal žárovku s větším výkonem, tak Ti to také bude svítit o 15% více, ale mohl by shořet vypínač. To je důvod těch relé z odkazu.
 
JirkaCzek
#15 
schéma zapojení přídavných světel na GS 1150
Přidané 26.11.2010 11:29
Avatar člena


Příspěvků: 20
Registrace: 08.01.10
Přidáním relé se samozřejmě proud a napětí nezvýší, ale pokud si četl dobře příspěvky tak ve větvi uzemění-relé-pojistka-spotřebič použiješ dráty s větším průřezem. Tím nedojde k úbytku napětí na vedení a v přepínači dle Ohmova zákona Wink Zkrátka dráty a vypínač nejsou dimenzovány na tak velký proud. Howgh.
 
jezek
#16 
schéma zapojení přídavných světel na GS 1150
Přidané 26.11.2010 12:09

Příspěvků: 2896
Registrace: 05.11.08
JirkaCzek napsal:
Přidáním relé se samozřejmě proud a napětí nezvýší, ale pokud si četl dobře příspěvky tak ve větvi uzemění-relé-pojistka-spotřebič použiješ dráty s větším průřezem. Tím nedojde k úbytku napětí na vedení a v přepínači dle Ohmova zákona Wink Zkrátka dráty a vypínač nejsou dimenzovány na tak velký proud. Howgh.


tak tak.. Ohmův zákon ale většina lidí nezná a přijde jim jako věc zbytečná.. Většina vypínačů které jsou běžně v prodeji jsou dimenzovány na cca 8-10 A max, nicméně i při 5A se časem "vyhřeje".. je lepší s ním POUZE spínat relé..
Sám si pamatuju jak jeden kamarád na své Škodě Octavii si dal relé přímo ke každému světlu a proud který šel z auta do žárovky mu pouze spínal relé, kam přivedl proud přímo od baterky. Tudíž to vlastně "neběhalo přes auto a vypínače a dlouhé metry drátů a svítilo to výrazně víc!!
 
servisak
#17 
schéma zapojení přídavných světel na GS 1150
Přidané 26.11.2010 12:11
Avatar člena


Příspěvků: 12409
Registrace: 02.01.09
Tak jsem to měl na žigulu než jsem dal relé tak jsem měnil páčky pořád dokola dal jsem tam relé a byl klid a 100x víc to svítilo!!!
... servis a diagnostika BMW Motorrad

Diagnostika GS 911 wifi a Motoscan Ultimate

BMW R 1200 GS Adventure 90. Jahre
 
bystricke
#18 
schéma zapojení přídavných světel na GS 1150
Přidané 26.11.2010 12:25
Avatar člena


Příspěvků: 3927
Registrace: 04.11.07
já sem zas natáhl dráty z kopce aby proud líp tekl do žárovek,tím sem dosáhl stejné svítivostiSmilepray
Upravil bystricke dne 26.11.2010 12:26
Hliníkové kufry BEGR - www.begr.cz
 
www.begr.cz
JirkaCzek
#19 
schéma zapojení přídavných světel na GS 1150
Přidané 26.11.2010 12:54
Avatar člena


Příspěvků: 20
Registrace: 08.01.10
bystricke napsal:
já sem zas natáhl dráty z kopce aby proud líp tekl do žárovek,tím sem dosáhl stejné svítivostiSmilepray

Hanákům funguje všechno jinak hilarious
Jinak docela hezky je to namalované tady http://www.roadbo...w-gs-1200/
 
Milda
#20 
schéma zapojení přídavných světel na GS 1150
Přidané 26.11.2010 12:55

Příspěvků: 101
Registrace: 06.10.08
Tomas1200GS: Relé zvýší napětí a proud??? To jsem opravdu napsal??? Asi sis to ještě pořádně nepročetl Wink Ohmův zákon je věc probíraná v sedmé třídě ZŠ. Jinak s tebou souhlasím + to, že by ti mohl shořet vypínač i dráty. Vše vysvětleno v odkazu i s průměry drátu.
 
Strana 1 z 2:   1    2  
Přejít na fórum:
Motorky BMW GS - diskuse :: Motorky BMW :: BMW R850GS, R1100GS, R1150GS a R1150GS Adventure :: Více v diskusním fóru
Přihlášení
Jméno

Heslo



Zaregistrovat se
Zaslat zapomenuté heslo
Kdo je on-line
Hosté on-line: 89
Členové on-line: 0

Registrováno: 8,750
Nejnovější člen: NacMacFigl

Poslední návštěvy
Reklama
Vygenerované za: 0.36 sekund
Copyright © 2006 BAWORAK.CZ | Kontakt | Časté dotazy | Pravidla portálu | Hosting poskytuje CGI