Motorky BMW GS - vše o motocyklech BMW řady GS a o cestování na nich
Motorky BMW GS - vše o motocyklech BMW řady GS a o cestování
  • · BMW GS
  • · Fórum
  • · Články
  • · Zprávy
  • · Galerie
  • · Naše fotografie
  • · Odkazy
  • · Ke stažení
  • · Inzerce
  • · Hledat
Reklama
Kalendář akcí
<< Listopad 2025 >>
Po Út St Čt Pá So Ne
          1 2
3 4 5 6 7 8 9
10 11 12 13 14 15 16
17 18 19 20 21 22 23
24 25 26 27 28 29 30
Číst diskusi
Motorky BMW GS - vše o motocyklech BMW řady GS a o cestování :: Motorky BMW :: BMW F800GS, F700GS a F650GS
 
Pojistky na osmikile ? Pridavna svetla.
Bulvic
#1 
Přidané 11.04.2011 10:40
Avatar člena


Příspěvků: 96
Registrace: 11.12.08
Zdravim, zacalo mi vrtat hlavou kde by se mohla nachazet pojistkova skrinka, osadil jsem si pridavna dalkova svetla a ted to potrebuji pripojit, a jako nejlepsi moznost se mi jevi to natahnout primo z ni. Mate s timto nekdo zkusenost nebo jak ta svetla jinak napojit ?
Diky
Jedu i když jízda dále zdá se býti nemožná !
 
servisak
#2 
Pojistky na osmikile ? Pridavna svetla.
Přidané 11.04.2011 10:42
Avatar člena


Příspěvků: 12409
Registrace: 02.01.09
800 ani 1200 pojistkovku nemají!
... servis a diagnostika BMW Motorrad

Diagnostika GS 911 wifi a Motoscan Ultimate

BMW R 1200 GS Adventure 90. Jahre
 
stepan
#3 
Pojistky na osmikile ? Pridavna svetla.
Přidané 11.04.2011 10:43
Avatar člena


Příspěvků: 3723
Registrace: 05.06.07
Bulvic napsal:
Zdravim, zacalo mi vrtat hlavou kde by se mohla nachazet pojistkova skrinka, osadil jsem si pridavna dalkova svetla a ted to potrebuji pripojit, a jako nejlepsi moznost se mi jevi to natahnout primo z ni. Mate s timto nekdo zkusenost nebo jak ta svetla jinak napojit ?
Diky


Tam žádný pojistky nejsou.
 
http://kouzelnyzivot.cz
petrs
#4 
Pojistky na osmikile ? Pridavna svetla.
Přidané 11.04.2011 10:47
Avatar člena


Příspěvků: 938
Registrace: 31.10.07
F8ka pojistky nema. CanBus resi vse.... A i diky tomu neni az tak snadne neco pridat ke stavajicim rozvodum, protoze to bude vyhodnoceno jako velky odber a bude to zapisovat chybu do logu. Natahni to primo z baterky, pres pojistku (velikost dle vykonu zarovek), vypinac dej pres 12V rele, anebo alespon nesetri a kup poradny vypinac aby snesl alespon 15A.
Passion to Ride.
Passion to Dive.
 
MALI
#5 
Pojistky na osmikile ? Pridavna svetla.
Přidané 11.04.2011 10:49
Avatar člena


Příspěvků: 1697
Registrace: 17.05.08
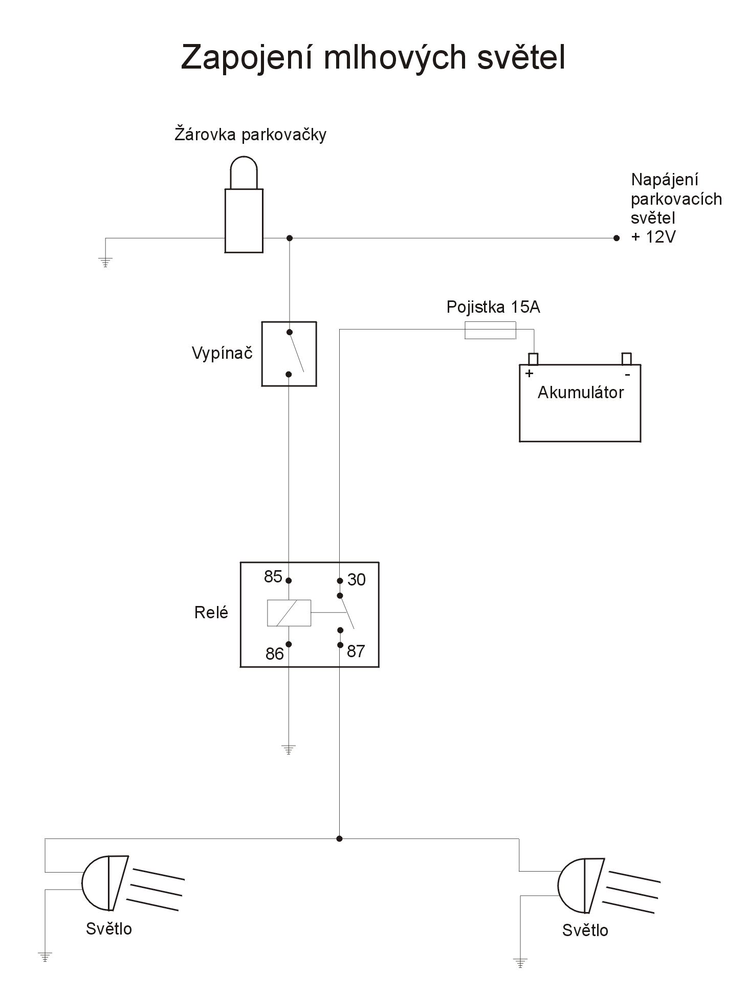
Tady máš schéma. Někdo to sem dával, zapojil jsem to podle toho a všechno v pohodě.
MALI přiložený následující obrázek:


[105.81Kb]
 
Bulvic
#6 
Pojistky na osmikile ? Pridavna svetla.
Přidané 11.04.2011 10:52
Avatar člena


Příspěvků: 96
Registrace: 11.12.08
Dekuji za odpoved Smile Jenom jeste kde najdu to relé ?
Jedu i když jízda dále zdá se býti nemožná !
 
MALI
#7 
Pojistky na osmikile ? Pridavna svetla.
Přidané 11.04.2011 10:55
Avatar člena


Příspěvků: 1697
Registrace: 17.05.08
Buď bývá v balení přídavných světel, nebo si ho za pár kaček kup v autopotřebách.
 
Bulvic
#8 
Pojistky na osmikile ? Pridavna svetla.
Přidané 11.04.2011 10:59
Avatar člena


Příspěvků: 96
Registrace: 11.12.08
Takhle Smile Ta pridavna dalkova svetla co jsem namontoval, tak chci aby se sepinana pri sepnuti dalkoveho svetla, normalne vypinacem co je na riditkach original pro sepinani dalkovych svetel Smile Mam jen pro sviteni kdyz jezdim v noci, coz jezdim dost, o to mi jde Smile
Jedu i když jízda dále zdá se býti nemožná !
 
petrs
#9 
Pojistky na osmikile ? Pridavna svetla.
Přidané 11.04.2011 11:02
Avatar člena


Příspěvků: 938
Registrace: 31.10.07
Potom jedine to rele pridat k dratum co jiz vedou ke spinaci. Snad by to CanBusu nevadilo.... odber se zvysi jen o trochu a i CanBus ma nejakou toleranci... Dej to nejakemu sikovnemu BMW autoelektrikari, co zna CanBus z BMW aut.... tohle je v podstate to same, akorat v mensim....
Passion to Ride.
Passion to Dive.
 
MALI
#10 
Pojistky na osmikile ? Pridavna svetla.
Přidané 11.04.2011 18:09
Avatar člena


Příspěvků: 1697
Registrace: 17.05.08
Jé promiň - nevšimnul jsem si, že chceš dálkový. Sice nejsem elektrikář, takže mě kdyžtak opravte, ale proč to nezapojit stejně jako na tom obrázku jen místo parkovačky, to zapojit na drát žárovky dálkovýho? Vypínač tam dávat nemusíš, ale lepší by asi byl, aby v případě potřeby svítilo jenom dálkový bez přídavek.
Upravil MALI dne 11.04.2011 18:09
 
MALI
#11 
Pojistky na osmikile ? Pridavna svetla.
Přidané 12.04.2011 20:22
Avatar člena


Příspěvků: 1697
Registrace: 17.05.08
Klucí můžete mi prosím někdo potvrdit mojí domněnku viz výše? Do budoucna chci k mlhovkám přidat i dálky, tak abych věděl, jestli by to tak šlo zapojit. Dík
 
randolf
#12 
Pojistky na osmikile ? Pridavna svetla.
Přidané 12.04.2011 21:07
Avatar člena


Příspěvků: 908
Registrace: 27.04.08
Mali, je to tak a vypinac bych tam urcite dal.
Jen jeste bych chtel dodat, ze tad yvsichni mluvite o CANbus a pritom zapojeni silovych rozvodu nema s CANbus nic spolecneho - CAN je jenom datova sbernice, pomoci ktere spolu umi jednotliva zarizeni "mluvit". Mate pravdu ze zaroven s tim u techto motorek ridici jednotka resi i odber, odpojovani a jisteni jednotlivych vetvi silovych rozvodu, ale toto muze delat i bez CAN sbernice. Jen pro-forma Smile
Upravil randolf dne 12.04.2011 21:08
 
mara
#13 
Pojistky na osmikile ? Pridavna svetla.
Přidané 12.04.2011 21:10
Avatar člena


Příspěvků: 3169
Registrace: 05.03.08
ANO, přídavné dálkové musí svítit JEN s dálkovými světly a na motorce můžou být jen 2.
Takže:
pokud je v hlavním světle jedo dálkové, může k němu svítit 1 přídavné
poku jsou v hlavním světle dvě dálková, nesmí být další.
modrá kontrolka povinná(to máme)

SMĚRNICE EVROPSKÉHO PARLAMENTU A RADY 2009/67/ES
6.1
Dálkové světlomety
6.1.1
Počet: jeden nebo dva.
6.1.2
Montážní uspořádání: žádné zvláštní podmínky.
6.1.3
Umístění
6.1.3.1
Na šířku:
—
samostatný dálkový světlomet může být namontován nad jiný přední světlomet/svítilnu nebo pod něj/pod ni nebo na jeho/její jednu či druhou stranu; jsou-li tyto svítilny jedna nad druhou, musí vztažný střed dálkového světlometu ležet na střední podélné rovině vozidla; jsou-li tyto světlomety/svítilny vedle sebe, musí jejich vztažné středy ležet symetricky ke střední podélné rovině vozidla,
—
dálkový světlomet, který je sloučen s jiným předním světlometem/svítilnou, musí být namontován tak, aby jeho vztažný střed ležel na střední podélné rovině vozidla; je-li však vozidlo vybaveno také samostatným světlometem potkávacím namontovaným vedle světlometu dálkového, musí jejich vztažné středy ležet symetricky ke střední podélné rovině vozidla, —
dva dálkové světlomety, z nichž jsou jeden nebo oba sloučeny s jiným předním světlometem/svítilnou, musí být namontovány tak, aby jejich vztažné středy ležely symetricky ke střední podélné rovině vozidla.
6.1.3.2
Na délku: na předku vozidla; tento požadavek se považuje za splněný, pokud vyzařované světlo neobtěžuje řidiče ani přímo ani nepřímo přes zpětná zrcátka a/nebo jiné odrážející plochy na vozidle.
6.1.3.3
Vzdálenost mezi okrajem svítící plochy kteréhokoliv samostatného dálkového světlometu a okraje potkávacího světlometu nesmí v žádném případě překročit 200 mm.
6.1.3.4
Vzdálenost mezi svítícími plochami dvou dálkových světlometů nesmí překročit 200 mm.
6.1.4
Geometrická viditelnost
Viditelnost svíticí plochy, včetně pásem, která se nejeví jako osvětlená ve směru uvažovaného pozorování, musí být zajištěna uvnitř rozbíhajícího se prostoru ohraničeného přímkami vycházejícími od obrysu svíticí plochy a svírajícími se vztažnou osou světlometu úhel nejméně 5°. Východiskem pro určení úhlů geometrické viditelnosti je obvod průmětu svítící plochy na příčnou rovinu dotýkající se nejpřednější části rozptylového skla světlometu.
6.1.5
Orientace: směrem dopředu.
Může se otáčet s úhlem rejdu řízení.
6.1.6
Může být skupinový s potkávacím světlometem a přední obrysovou svítilnou.
6.1.7
Nesmí být sdružený s žádným jiným světlometem/svítilnou.
6.1.8
Může být sloučený:
6.1.8.1
s potkávacím světlometem;
6.1.8.2
s přední obrysovou svítilnou;
6.1.8.3
s předním mlhovým světlometem.
6.1.9
Elektrické zapojení
Dálkové světlomety musí být rozsvíceny současně; při přepnutí z potkávacího světla na světlo dálkové musí svítit všechny dálkové světlomety; všechny dálkové světlomety musí být zhasnuty současně po přepnutí z dálkového světla na světlo potkávací. Potkávací světlomety mohou svítit současně se světlomety dálkovými.
6.1.10
Kontrolka zapojení obvodu: povinná.
Modré neblikající varovné světlo.
6.1.11
Jiné požadavky: maximální svítivost dálkových světlometů, které mohou být rozsvíceny současně, nesmí překročit 225 000 cd (hodnota podle ES schválení typu konstrukční části).
6.2
Potkávací světlomety
6.2.1
Počet: jeden nebo dva.


Mařa & BMW R 1150 GS Adventure
http://marags.raj...
http://www.youtub...marekondra
 
Bulvic
#14 
Pojistky na osmikile ? Pridavna svetla.
Přidané 23.05.2011 16:11
Avatar člena


Příspěvků: 96
Registrace: 11.12.08
Tak svetla nainstalovany, fungujou a v noci paráda, udelal jsem to pres to relé takze pri rozsviceni dalkovych svetel sepnou i pridavna dalkova !
Celkove naklady:
Svetla: 1000 Kč
Elektromateriál: 100 Kč
Relé 100 Kč
Materiál na držák a kryty: co bylo doma - zdarma Smile
Prášková barva: 100 Kč
Celkem: 1300 Kč
Bulvic přiložený následující obrázek:


[72.2Kb]
Jedu i když jízda dále zdá se býti nemožná !
 
Bulvic
#15 
Pojistky na osmikile ? Pridavna svetla.
Přidané 23.05.2011 16:13
Avatar člena


Příspěvků: 96
Registrace: 11.12.08
Dalsi foto:
Bulvic přiložený následující obrázek:


[61.33Kb]
Jedu i když jízda dále zdá se býti nemožná !
 
Bulvic
#16 
Pojistky na osmikile ? Pridavna svetla.
Přidané 23.05.2011 16:13
Avatar člena


Příspěvků: 96
Registrace: 11.12.08
Dalsi foto:
Bulvic přiložený následující obrázek:


[58.81Kb]
Jedu i když jízda dále zdá se býti nemožná !
 
TomVS
#17 
Pojistky na osmikile ? Pridavna svetla.
Přidané 23.05.2011 16:52
Avatar člena


Příspěvků: 669
Registrace: 06.07.09
A nebudeš mít strach, že někdo přehlédne tvůj blinkr? Přijde mi to docela blízko. Jinak zpracování fajn, za ty prachy paráda!
Upravil TomVS dne 23.05.2011 16:53
 
Bulvic
#18 
Pojistky na osmikile ? Pridavna svetla.
Přidané 23.05.2011 17:30
Avatar člena


Příspěvků: 96
Registrace: 11.12.08
Prave to jsme zkouseli na krizovatce a viditelnost neni nijak ovlivnena Smile
Jedu i když jízda dále zdá se býti nemožná !
 
Přejít na fórum:
Motorky BMW GS - diskuse :: Motorky BMW :: BMW F800GS, F700GS a F650GS :: Více v diskusním fóru
Přihlášení
Jméno

Heslo



Zaregistrovat se
Zaslat zapomenuté heslo
Kdo je on-line
Hosté on-line: 88
Členové on-line: 1
lukast

Registrováno: 8,750
Nejnovější člen: NacMacFigl

Poslední návštěvy
Reklama
Vygenerované za: 0.31 sekund
Copyright © 2006 BAWORAK.CZ | Kontakt | Časté dotazy | Pravidla portálu | Hosting poskytuje CGI