Motorky BMW GS - vše o motocyklech BMW řady GS a o cestování na nich
Motorky BMW GS - vše o motocyklech BMW řady GS a o cestování
  • · BMW GS
  • · Fórum
  • · Články
  • · Zprávy
  • · Galerie
  • · Naše fotografie
  • · Odkazy
  • · Ke stažení
  • · Inzerce
  • · Hledat
Reklama
Kalendář akcí
<< Únor 2026 >>
Po Út St Čt Pá So Ne
            1
2 3 4 5 6 7 8
9 10 11 12 13 14 15
16 17 18 19 20 21 22
23 24 25 26 27 28  
Číst diskusi
Motorky BMW GS - vše o motocyklech BMW řady GS a o cestování :: Motorky BMW :: BMW F650GS
 
Distanční trubka
Ibinka20
#1 
Přidané 16.02.2017 13:31

Příspěvků: 10
Registrace: 23.05.16
Zdravím, mám takový dotaz. Nevíte náhodou někdo přesné rozměry distanční trubky v přední vidlici a jestli je velikost jiná u normální vidle a snížené dámské verze? Po případě kde by se dala sehnat?..:-)
 
mysaccek
#2 
Distanční trubka
Přidané 16.02.2017 19:39

Příspěvků: 409
Registrace: 07.12.08
ibinka20 napsal:
Zdravím, mám takový dotaz. Nevíte náhodou někdo přesné rozměry distanční trubky v přední vidlici a jestli je velikost jiná u normální vidle a snížené dámské verze? Po případě kde by se dala sehnat?..:-)


Jestli chceš snižovat prodávají se progresivní pružiny - 4,5 cm, jinak co nevidět je budu dávat manželce do GS tak to změřím co tam bylo.
700 GS, 1100 GS
 
machcomp
#3 
Distanční trubka
Přidané 16.02.2017 22:14

Příspěvků: 233
Registrace: 18.05.12
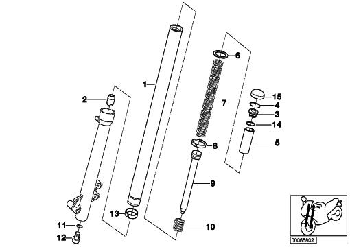
Položka 9 dělají se dvě délky standard a snížená
Pak ještě existuje z Dakara nejdelší. Tím získáte zdvih tlumičů jako na Dakaru.
Sehnat třeba u Ježka.
machcomp přiložený následující obrázek:


[21.02Kb]
Upravil machcomp dne 16.02.2017 22:19
BMW F800GS Adventure
 
Brko
#4 
Distanční trubka
Přidané 16.02.2017 23:10
Avatar člena


Příspěvků: 411
Registrace: 16.08.12
Ty delší se dají sehnat i z jiných, asi i levnějších vidlí, z dominatora 650.
Kratší těžko říc, kromě origo snižovacího setu.
Do it my way...
 
mysaccek
#5 
Distanční trubka
Přidané 17.02.2017 09:56

Příspěvků: 409
Registrace: 07.12.08
Jestli to chápu správně, stačí jakákoli trubka odpovídajícího průměru. Uřízneš kolik nepotřebuješ ? Manželka má 153cm nechával jsem jí přešít sedlo, koupil kosti BMW motoparts -5cm, objednal progresivní pružiny -4,5 cm celkem jsem tak získal snížení cca 8 cm. Nechtěl jsem aby se nějak výrazně měnily jízdní vlastnosti kostma a pružinami se prakticky nezmění, jen neprojedeš tolik v terénu, ale když změníš nějak zásadně délku dist. trubky myslím, že tím změníš i napětí pružiny což by na jízdu vliv mít mohlo.
700 GS, 1100 GS
 
machcomp
#6 
Distanční trubka
Přidané 17.02.2017 10:01

Příspěvků: 233
Registrace: 18.05.12
Na té trubce probíhá cele tlumení jsou v ni otvory a nahoře zápich a plastový těsnící kroužek a dole závit přes který drží celý tlumič pohromadě. Tak s tím řezáním moc nevím. Nová stoji cca 900,-
BMW F800GS Adventure
 
mysaccek
#7 
Distanční trubka
Přidané 17.02.2017 10:05

Příspěvků: 409
Registrace: 07.12.08
machcomp napsal:
Na té trubce probíhá cele tlumení jsou v ni otvory a nahoře zápich a plastový těsnící kroužek a dole závit přes který drží celý tlumič pohromadě. Tak s tím řezáním moc nevím. Nová stoji cca 900,-


Já jen že Transalp, Dominátor má pouze trubku. Jestli nemyslíš něco jiného. Ale u Hondy kterou tu někdo citoval je nad pružinou už jen podložka, dist. trubka / jen kus trubky/ a pak už jen matka. BMW vidle jsem zatím rozhozený neměl ale chystám se na to :-D
Upravil mysaccek dne 17.02.2017 10:06
700 GS, 1100 GS
 
machcomp
#8 
Distanční trubka
Přidané 17.02.2017 10:07

Příspěvků: 233
Registrace: 18.05.12
Podívej se se na obrázek.
BMW F800GS Adventure
 
Ibinka20
#9 
Distanční trubka
Přidané 17.02.2017 13:39

Příspěvků: 10
Registrace: 23.05.16
machcomp napsal:
Položka 9 dělají se dvě délky standard a snížená
Pak ještě existuje z Dakara nejdelší. Tím získáte zdvih tlumičů jako na Dakaru.
Sehnat třeba u Ježka.



Dle tohoto obrázku je to položka 5.
 
Ibinka20
#10 
Distanční trubka
Přidané 17.02.2017 13:43

Příspěvků: 10
Registrace: 23.05.16
mysaccek napsal:
ibinka20 napsal:
Zdravím, mám takový dotaz. Nevíte náhodou někdo přesné rozměry distanční trubky v přední vidlici a jestli je velikost jiná u normální vidle a snížené dámské verze? Po případě kde by se dala sehnat?..:-)


Jestli chceš snižovat prodávají se progresivní pružiny - 4,5 cm, jinak co nevidět je budu dávat manželce do GS tak to změřím co tam bylo.


Snižovat nechci. Byla to dámská verze ale přítel tam dával pružiny z dakara a nevím z jakého důvodu zkracoval distanční trubku. Ja teď objednala progresi a chtěla bych to dát do původního stavu... tak bych potřebovala vědět rozměr nebo technické specifikace.
 
VojtechPolicky
#11 
Distanční trubka
Přidané 17.02.2017 14:30
Avatar člena


Příspěvků: 3332
Registrace: 12.04.12
A co to treba popustit jen v brylich - o 2 cm... sice to nevypada hezky. Ucel to splni a nakonec zjistis, ze snizeni uz tka nizke moto neni potreba. F650 je sama o sobe dost nizka.. mnohdy staci opravu snizit jen a pouze sedlo.
Nebyli jsme stvořeni proto, abychom poznávali svět pomocí strojů...


Teda až na motorky !thumbs up
 
mysaccek
#12 
Distanční trubka
Přidané 17.02.2017 15:49

Příspěvků: 409
Registrace: 07.12.08
Když jsme u toho nevíte někdo jak dlouhá má být standartní pružina ?


Jinak snížená dist. trubka stojí v Inveltu cca 300,- takže normální délka nebude o moc dražší.
Upravil mysaccek dne 17.02.2017 22:31
700 GS, 1100 GS
 
mysaccek
#13 
Distanční trubka
Přidané 18.02.2017 15:28

Příspěvků: 409
Registrace: 07.12.08
Dnes jsem to rozhodil a opravdu je dist. trubka pouze kus trubky, slabostěnná průměr 34mm a délka 100mm. Síla stěny asi není důležitá takže stačí uříznout kus trubky o průměru 34-35 mm a uděláš si výšku motorky jakou chceš. Podle toho jak to na mě vystřelilo myslím že nejkratší by mohla být 70mm pak už bude pružina lítat, ale zas stojí na tom motorka takže volně by pružina byla vlastně jen když to zvedneš.
700 GS, 1100 GS
 
blazin
#14 
Distanční trubka
Přidané 18.02.2017 19:36

Příspěvků: 89
Registrace: 02.02.17
Kluci a tím chcete říct, že u Dakar verze je fakt jen ta distanční trubka např. o cca 30mm delší a je to?? to asi ne, že ne...tam bude asi delší ten spodek vidlice a nebo ta trubka č. 9, aspon si myslím. Je to tak??
 
blazin
#15 
Distanční trubka
Přidané 18.02.2017 19:40

Příspěvků: 89
Registrace: 02.02.17
to mysaccek: Chystám se taky dělat olej a chci se zeptat, jestli si to dělal sáma nebo s někým??? Přijde mi docela pakárna mačkat na zátku a druhou rukou nějak vyndat tu zajištující segrovku(drát) :-(....jak ti to šlo?? díky za info.
 
mysaccek
#16 
Distanční trubka
Přidané 18.02.2017 20:01

Příspěvků: 409
Registrace: 07.12.08
Nevím jak to má Dakar, to by ti tu trubku musel někdo změřit.

S tím rozmontováním se přiznám, sundal jsem klemy řídítek odklonil je a zmáčknul to stahovákem, vyndal pojistky a teprve potom sundal z motorky Frown
700 GS, 1100 GS
 
blazin
#17 
Distanční trubka
Přidané 18.02.2017 20:06

Příspěvků: 89
Registrace: 02.02.17
Díky za info a takhle nějak jsem nad tím taky špekuloval, takže si mi ten postup jen potvrdil :-)
 
mysaccek
#18 
Distanční trubka
Přidané 18.02.2017 20:21

Příspěvků: 409
Registrace: 07.12.08
blazin napsal:
Díky za info a takhle nějak jsem nad tím taky špekuloval, takže si mi ten postup jen potvrdil :-)


V jednom to jde fakt blbě.
700 GS, 1100 GS
 
blazin
#19 
Distanční trubka
Přidané 18.02.2017 21:25

Příspěvků: 89
Registrace: 02.02.17
ale dokazal si to :-)
 
Ibinka20
#20 
Distanční trubka
Přidané 20.02.2017 21:33

Příspěvků: 10
Registrace: 23.05.16
mysaccek napsal:
Dnes jsem to rozhodil a opravdu je dist. trubka pouze kus trubky, slabostěnná průměr 34mm a délka 100mm. Síla stěny asi není důležitá takže stačí uříznout kus trubky o průměru 34-35 mm a uděláš si výšku motorky jakou chceš. Podle toho jak to na mě vystřelilo myslím že nejkratší by mohla být 70mm pak už bude pružina lítat, ale zas stojí na tom motorka takže volně by pružina byla vlastně jen když to zvedneš.


Moc dekuji.????
 
Přejít na fórum:
Motorky BMW GS - diskuse :: Motorky BMW :: BMW F650GS :: Více v diskusním fóru
Přihlášení
Jméno

Heslo



Zaregistrovat se
Zaslat zapomenuté heslo
Kdo je on-line
Hosté on-line: 166
Členové on-line: 0

Registrováno: 8,773
Nejnovější člen: Bohumil Stejskal

Poslední návštěvy
Reklama
Vygenerované za: 0.22 sekund
Copyright © 2006 BAWORAK.CZ | Kontakt | Časté dotazy | Pravidla portálu | Hosting poskytuje CGI